The Central Outer Z-Driftchamber (COZ)
This page is under construction still....
Detector Figures
Schematic view
Radial sketch - 3 rings prototype
Wires support and Drift field forming strips
Rings and cells structure
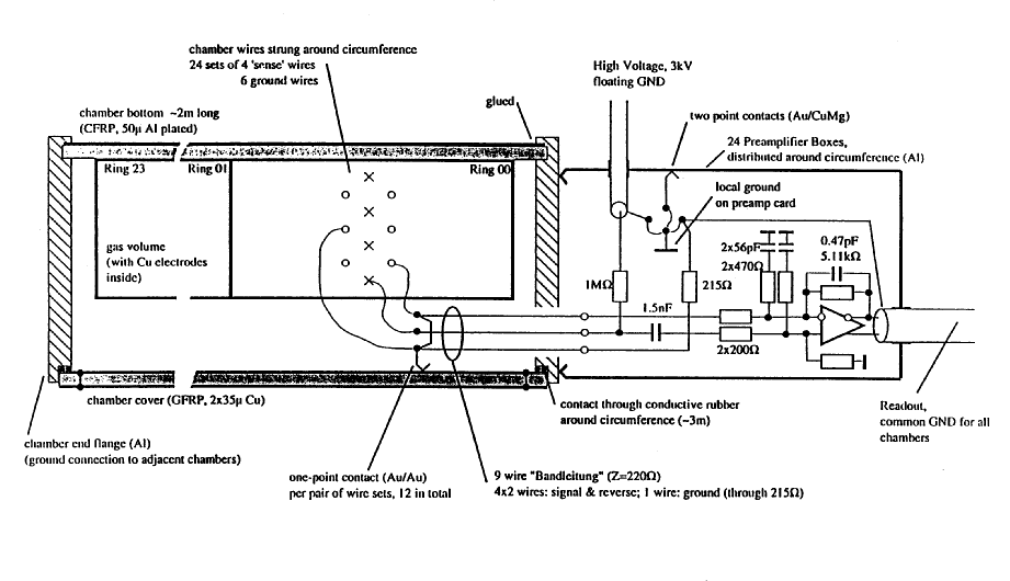
COZ electronics
responsible for that page :
T. Kurca